🍪
Skip to main content

HOW TO ORDER TECHNICAL DOORS

Technical door sizes

TECHNICAL DOOR MEASURES: STEPS TO FOLLOW

When ordering a door, it is important to know how to take the measurements of the openings, as well as all the necessary data to give to the manufacturer so that there is no problem.

From Spigogroup, we advise to take the measurements of the holes on site once executed (not on the plan), one by one and give the real and exact measurement (the clearances are given by us).

Follow these simple steps before ordering doors:

1

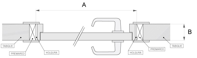
Width

Measure the distance from the inside of the subframe (A).

2

Thickness

Measure the thickness of the septum or wall (B)

3

Height

Measure the distance between the horizontal part of the subframe and the ground (C).

√ It is advisable to measure the door opening at different points/ends both in height and width. As they will vary by a few mm, give the smaller size. Likewise, for the thickness of the partition wall, measure at different points the two partition walls and the lintel, and note in this case the thickest one.

SPIGODOOR STANDARD DIMENSIONS – TECHNICAL DOOR DIMENSIONS

Spigodoor width sheet size Spigodoor high leaf size Width to be taken into account in the construction shaft High to have in a construction shaft
425 mm. 2030 mm. 475 mm. 2065 mm.
525 mm. 2030 mm. 575 mm. 2065 mm.
625 mm. 2030 mm. 675 mm. 2065 mm.
725 mm. 2030 mm. 775 mm. 2065 mm.
825 mm. 2030 mm. 875 mm. 2065 mm.
925 mm. 2030 mm. 975 mm. 2065 mm.

Spigodoor width sheet size

425 mm.

525 mm.

625 mm.

725 mm.

825 mm.

925 mm.

Spigodoor high leaf size

2030 mm.

2030 mm.

2030 mm.

2030 mm.

2030 mm.

2030 mm.

Width to be taken into account in the construction shaft

475 mm.

575 mm.

675 mm.

775 mm.

875 mm.

975 mm.

High to have in a construction shaft

2065 mm.

2065 mm.

2065 mm.

2065 mm.

2065 mm.

2065 mm.

Possibility of manufacturing in any size, please consult us.